【项目周期】
2006年3月与东莞市规划局签订电子报批软件研发合同,进行详细需求调研后对软件进行研发,后对总平设计端软件的使用进行了分批培训。同年试行修建性详规(商住区)电子报批试;并正式实施工业区修建性详规实施电子报批管理和《建设工程规划许可证》(商业、居住区部分)电子报批管理。2009年4月1日起,对所有建设项目报审总平面图及办理 《建设工程规划许可证》实施电子报批管理。
【运行情况】
目前东莞市规划局规划电子报批系统运行良好,保证实现规范化电子申报建设项目的数字报建模式,实现数字报建的全过程规划初审辅助支持,避免报建单位因对项目报建要求的理解偏差而与规划局报建窗口之间的申报反复,进而推动建设项目电子化申报和审批的深入开展。经过试运行的多个方案后,市规划局对本系统具有很高的认可度。
【系统模块】
1.总平模块
“总平模块”主要用于各类用地要素如规划用地、道路用地、公共绿地的定义与审核;建筑及其构件等属性数据的定义与审核;车场车位的定义与审核;定性与定量,分项与综合等设计规范自动检测功能,如各类用地、建筑及其它规划要素间的叠加冲突现象和设计偏差等失误检测,建筑间距检测、配套设施检测、车位复核检测、公共绿地面积、日照检测、红线退让检测、平面可视化浏览检测、三维方案可视化浏览等;综合技术经济指标表、用地平衡表、建筑统计表、车位统计表、公建统计表等的计算和统计;查验容积率、绿地率、停车率、建筑密度等控制性参数的合理程度,对整体方案进行综合评价,确定方案的可行性,并最终生成审核报告。
2.单体模块
“单体模块”主要为单体定义模块与单体审核模块两部分。具体包括:制定建筑单体电子报批技术规定;建筑性质、属性、面积、户型等的定义与审核;具有各类面向对象的查询统计功能,可生成单体性质、面积、户型等各类统计报表;建筑单体的检测功能,如:属性检测、重叠检测、漏理检测等;自动生成单体户型、面积统计表、户型分析表等。
3.方案入库模块:
根据入库标准,以规划局现有系统为基础,实现电子报批的成果入库,确保将各类实体附带的信息准确无误保存到数据库中,实现高度的数据共享。
4.竣工验收模块:
“竣工验收模块”对通过报建审核的总平图里导入完成定义的竣工图,查看竣工建筑与相应报审建筑在建筑面积、高度和基底位置上的差别。
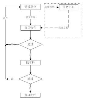
【报建流程】
